Paramount
Разборка
- Реєстрація
- 03.12.2011
- Повідомлення
- 534
- Вік
- 38
- Город
- Одесса
Деталька мелачёвая
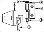
У меня выроботка на петле двиерной, причем на той что приварена к кузову, варить не хочеться, петля разборная(шток вытаскивается) Нужно с прутка выточить такой же шток только на милиметр больше, пример на руках. Где и сколько ? Или наплавить может? как лучше ?
Заранее спасибо.
Номер 3 на рисунке выше стрелки в той части что входит в петлю надо на 1мм больше сделать
У меня выроботка на петле двиерной, причем на той что приварена к кузову, варить не хочеться, петля разборная(шток вытаскивается) Нужно с прутка выточить такой же шток только на милиметр больше, пример на руках. Где и сколько ? Или наплавить может? как лучше ?
Заранее спасибо.
Номер 3 на рисунке выше стрелки в той части что входит в петлю надо на 1мм больше сделать

Останнє редагування: